Zawór kulowy PVC-C J41F-10V DN15-150 1/2"-6" ANSI

Zawór przelotowy kołnierzowy z PVC-C, przelotowy, wysokotemperaturowy DN15–DN150 Zawór z tworzywa sztucznego do zastosowań chemicznych i przemysłowych Standard ANSI
Model: J41F-10V
Materiał: tworzywo sztuczne
Typ połączenia: kołnierzowe
Tryb pracy: ręczny
Ciśnienie nominalne: 10 kg
Kanał przepływowy: Typ prosty
Struktura: Naprawiono zawór kulowy
Typ: Stały zawór kulowy
Funkcja: Zawór obejściowy
Temperatura: Wysoka temperatura
Zastosowanie: zastosowanie przemysłowe, zastosowanie do uzdatniania wody
Marka: KXPV
Specyfikacja: DN15–DN150
Pochodzenie: Zhejiang, Ningbo

Klasa ciśnienia: 1,0Mpa (10 barów)

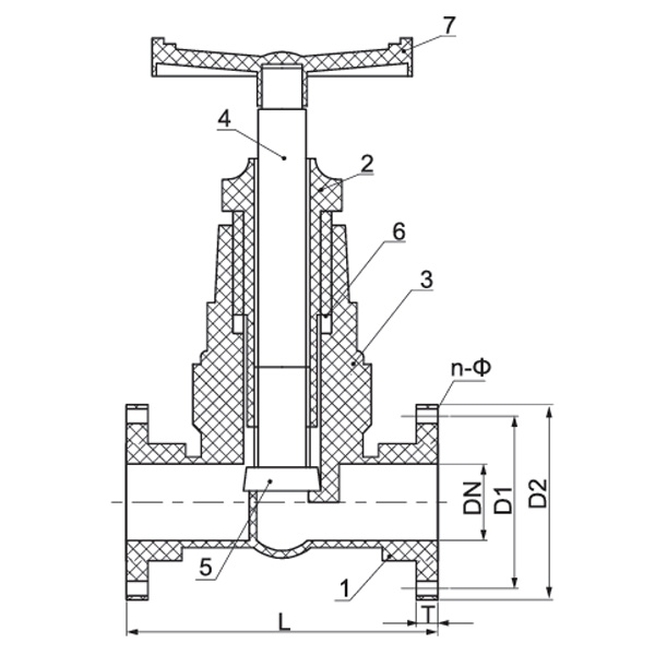
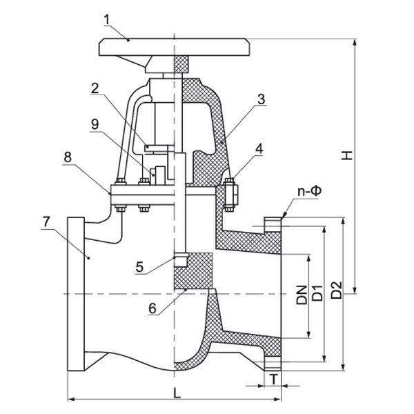
Cechy strukturalne produktu

1. Korpus zaworu z tworzywa sztucznego zapewnia doskonałą odporność na korozję i zużycie.
2. Kompaktowa konstrukcja, opłacalna i wysoka wydajność.
3. Dostępne zawory do regulacji przepływu.

Lista ograniczeń temperaturowych aplikacji

Materiał Średnia temperatura℃ Materiał Średnia temperatura℃
PCV-C -20 ℃ ~ 95 ℃ PCV-U -5 ℃ ~ 45 ℃
FRPP -20 ℃ ~ 120 ℃ PPH -20 ℃ ~ 110 ℃
PVDF 40 ℃ ~ 150 ℃

Tabela materiałów części

Nie. Imię Materiał Ilość
PCV-C PCV-U PVDF PPH FRPP
1 Ciało PCV-C PCV-U PVDF PPH FRPP 1
2 Blokada blokady PCV-C PCV-U PVDF PPH FRPP 1
3 Złącza PCV-C PCV-U PVDF PPH FRPP 1
4 Łodyga PCV-C PCV-U PVDF PPH FRPP 1
5 Pokrywa uszczelniająca PCV-C PCV-U PVDF PPH FRPP 1
6 Pieczęć Stena PTFE 1
7 Koło Materiał stopowy 1

Nie. Imię Materiał Ilość
PCV-C PCV-U PVDF PPH FRPP
1 Koło Materiał stopowy 1
2 Nakrętka uszczelniająca PCV-C PCV-U PVDF PPH FRPP 1
3 Pieczęć Stena PTFE 1
4 Śruba Stal 8
5 Łodyga (PCV-C/PCV-U/PVDF/PPH/FRPP) StalStal 1
6 Zakrywanie PCV-C PCV-U PVDF PPH FRPP 1
7 Ciało PCV-C PCV-U PVDF PPH FRPP 1
8 Guma uszczelniająca FPM EPDM FPM EPDM 1
9 Maska PCV-C PCV-U PVDF PPH FRPP 1



Nie. Imię Materiał Ilość
PCV-C PCV-U PVDF PPH FRPP
1 Koło Materiał stopowy 1
2 Nakrętka uszczelniająca PCV-C PCV-U PVDF PPH FRPP 1
3 Wsparcie (PCV-C/PCV-U/PVDF/PPH/FRPP) StalStal 1
4 Śruba Stal 8
5 Łodyga (PCV-C/PCV-U/PVDF/PPH/FRPP) StalStal 1
6 Zakrywanie PCV-C PCV-U PVDF PPH FRPP 1
7 Ciało PCV-C PCV-U PVDF PPH FRPP 1
8 Guma uszczelniająca FPM EPDM FPM EPDM 1
9 Maska PCV-C PCV-U PVDF PPH FRPP 1

Lista wymiarów

Specyfikacja D1 (mm) D2(mm) L(mm) T(mm) n-Φ(mm)
1/2"(15) 60 105 155 18 4-Φ14
3/4"(20) 70 105 155 18 4-Φ14
1"(25) 79 115 160 20 4-Φ14
1¼"(32) 89 135 185 20 4-Φ18
1½"(40) 98 150 200 20 4-Φ18

Specyfikacja D1 (mm) D2(mm) L(mm) T(mm) n-Φ(mm)
2"(50) 121 165 230 20 4-Φ18

Specyfikacja D1 (mm) D2(mm) L(mm) T(mm) n-Φ(mm)
1/2"(15) 60 105 155 18 4-Φ14
3/4"(20) 70 105 155 18 4-Φ14
1"(25) 79 115 160 20 4-Φ14
1¼"(32) 89 135 185 20 4-Φ18
1½"(40) 98 150 200 20 4-Φ18
Wiadomość zwrotna
[#wejście#]
O nas
Kaixin Pipeline Technologies Co., Ltd.
Założona w 1999 roku, Kaixin Pipeline Technologies Co., Ltd. to zaawansowane technologicznie przedsiębiorstwo integrujące badania i rozwój, produkcję, sprzedaż i serwis. Firma posiada wiele prestiżowych certyfikatów, w tym National High-Tech Enterprise, „Little Giant” wyspecjalizowane i wyrafinowane MŚP, krajowy mistrz pojedynczego produktu (uprawa), prowincjonalne MŚP oparte na technologii, wyspecjalizowane i wyrafinowane MŚP w Ningbo, mistrz pojedynczego produktu w Ningbo (uprawa), centrum badawczo-rozwojowe w zakresie technologii rur i zaworów polimerowych w Ningbo, zielona fabryka na poziomie okręgu, czterogwiazdkowe przedsiębiorstwo w zakresie innowacji w zarządzaniu oraz poziom dojrzałości zarządzania danymi przedsiębiorstwa 2.
Specjalizujemy się w opracowywaniu, produkcji i dostarczaniu niemetalowych, odpornych na korozję produktów do zastosowań chemicznych, w tym plastikowych zaworów, rur, złączek rurowych i odpornych na korozję pomp. Nasze portfolio produktów obejmuje materiały takie jak PVC-C, PVC-U, PVDF, PPH i FRPP, z szeroką gamą typów i specyfikacji. Warto zauważyć, że nasze przepustnice mogą osiągać średnicę DN1000, a rury i kształtki do DN800, co pozwala wypełnić luki rynkowe i utrzymać naszą przewagę konkurencyjną w branży.
Kierując się zasadą „Napędzani technologią, dotrzymując kroku czasom”, Kaixin przeznacza prawie 10 milionów RMB rocznie na badania i rozwój. Zapewniamy najwyższą jakość produktów poprzez standaryzowaną, zautomatyzowaną produkcję i rygorystyczne pozyskiwanie importowanych surowców. Zgodnie z naszą międzynarodową strategią rozwoju stale monitorujemy światowe trendy rynkowe i wykorzystujemy kanały cyfrowe, aby dostarczać klientom na całym świecie wysokiej jakości produkty „Made in China”.
Ningbo • Baza badawczo-rozwojowa i produkcyjna Fenghua
Dzięki inwestycji o łącznej wartości 200 milionów RMB firma Kaixin Ultra-Pure Pipe Technology (Ningbo) Co., Ltd. utworzyła nowe laboratorium materiałowe we współpracy z uniwersytetami i instytutami badawczymi, zbudowała nowoczesną bazę produkcyjną i zainstalowała 8 w pełni zautomatyzowanych linii produkcyjnych do modyfikowanych tworzyw sztucznych i 8 do materiałów polimerowych. Obiekt zajmuje się badaniami i rozwojem, produkcją i zastosowaniem nowych modyfikowanych tworzyw sztucznych i materiałów polimerowych. Kaixin angażuje się także w przyciąganie najlepszych talentów z różnych dziedzin, ciągłe wprowadzanie innowacji w produktach i rozwój marki, a jego celem jest zdobycie pozycji rozpoznawalnego na całym świecie lidera w dziedzinie badań i rozwoju oraz produkcji polimerowych zaworów, rur i złączek.
Świadectwo honorowe
  • honor
  • honor
  • honor
  • honor
  • honor
  • honor
  • honor
  • honor
  • honor
Wiadomości