Zawór kulowy kołnierzowy PVC-U Q41F-10U DN20-100 20A-100A JIS Standard

Wysokiej jakości wysokotemperaturowy chemiczny zawór kulowy z kołnierzem z PVC-U, PVC ANSI Standard Przemysłowy zawór sanitarny z tworzywa sztucznego, standard JIS
Model: Q41F-10U
Materiał: tworzywo sztuczne
Typ połączenia: kołnierzowe
Tryb zasilania: ręczny
Ciśnienie nominalne: 10 kg
Przejście: prosto
Struktura: Stały zawór kulowy
Funkcja: zastosowanie przemysłowe
Temperatura: Wysoka temperatura
Zastosowanie: zastosowanie przemysłowe, zastosowanie w przemyśle wodnym
Rozmiar: DN20-100
Norma: ANSI
Kod HS: 8481804090

Klasa ciśnienia: 1,0Mpa (10 barów)

Cecgodzy strukturalrze produktu

1. Zawory kulowe serii konstrukcyjnej z tworzywa sztucznego wykonane są z odpornych na korozję materiałów termoplastycznych, takich jak FRPP, PVDF, PCV-C, PCV-U i PPH, utworzonych w wyniku jednorazowego formowania wtryskowego, co zapewnia dużą odporność na korozję.
2. Niezawodne uszczelnienie przy niskim momencie obrotowym.
3. Niski opór płynu i szybkie otwieranie i zamykanie.
4. Prosta konstrukcja o atrakcyjnym wyglądzie.

Lista ograniczeń temperaturowych aplikacji

Materiał Średnia temperatura℃ Materiał Średnia temperatura℃
PVC-C -20 ℃ ~ 95 ℃ PVC-U -5 ℃ ~ 45 ℃
FRPP -20 ℃ ~ 120 ℃ PPH -20 ℃ ~ 110 ℃
PVDF 40 ℃ ~ 150 ℃

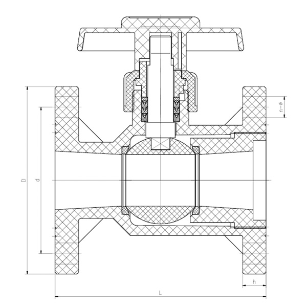
Rysunek szczegółowy zespołu zaworu kulowego typu Boddily

Tabela materiałów części

Nie. Imię Materiał
1 Uchwyt Materiał stopowy
2 Nakrętka ustalająca FRPP, PVDF, PVC-U, PVC-C, PPH
3 Pierścień ustalający FRPP, PVDF, PVC-U, PVC-C, PPH
4 Łodyga FRPP, PVDF, PVC-U, PVC-C, PPH
5 Łodyga seal PTFE
6 Uszczelniona kula PTFE
7 Uszczelnienie siedzenia FRPP, PVDF, PVC-U, PVC-C, PPH
8 Piłka FRPP, PVDF, PVC-U, PVC-C, PPH
9 Ciało FRPP, PVDF, PVC-U, PVC-C, PPH
Lista wymiarów

DN (mm) D d L h n Ø
20(3/4") 105 75 120 17 4 15
25(1") 120 90 130 16 4 19
32(1 1/4") 135 100 145 18 4 19
40(1 1/2") 145 105 168 20 4 19
50(2") 160 120 180 20 4 19
65(2 1/2") 180 140 225 22 4 19
80(3") 195 150 260 25 4 19
100(4") 215 175 280 25 8 19

Wiadomość zwrotna
[#wejście#]
O nas
Kaixin Pipeline Technologies Co., Ltd.
Założona w 1999 roku, Kaixin Pipeline Technologies Co., Ltd. to zaawansowane technologicznie przedsiębiorstwo integrujące badania i rozwój, produkcję, sprzedaż i serwis. Firma posiada wiele prestiżowych certyfikatów, w tym National High-Tech Enterprise, „Little Giant” wyspecjalizowane i wyrafinowane MŚP, krajowy mistrz pojedynczego produktu (uprawa), prowincjonalne MŚP oparte na technologii, wyspecjalizowane i wyrafinowane MŚP w Ningbo, mistrz pojedynczego produktu w Ningbo (uprawa), centrum badawczo-rozwojowe w zakresie technologii rur i zaworów polimerowych w Ningbo, zielona fabryka na poziomie okręgu, czterogwiazdkowe przedsiębiorstwo w zakresie innowacji w zarządzaniu oraz poziom dojrzałości zarządzania danymi przedsiębiorstwa 2.
Specjalizujemy się w opracowywaniu, produkcji i dostarczaniu niemetalowych, odpornych na korozję produktów do zastosowań chemicznych, w tym plastikowych zaworów, rur, złączek rurowych i odpornych na korozję pomp. Nasze portfolio produktów obejmuje materiały takie jak PVC-C, PVC-U, PVDF, PPH i FRPP, z szeroką gamą typów i specyfikacji. Warto zauważyć, że nasze przepustnice mogą osiągać średnicę DN1000, a rury i kształtki do DN800, co pozwala wypełnić luki rynkowe i utrzymać naszą przewagę konkurencyjną w branży.
Kierując się zasadą „Napędzani technologią, dotrzymując kroku czasom”, Kaixin przeznacza prawie 10 milionów RMB rocznie na badania i rozwój. Zapewniamy najwyższą jakość produktów poprzez standaryzowaną, zautomatyzowaną produkcję i rygorystyczne pozyskiwanie importowanych surowców. Zgodnie z naszą międzynarodową strategią rozwoju stale monitorujemy światowe trendy rynkowe i wykorzystujemy kanały cyfrowe, aby dostarczać klientom na całym świecie wysokiej jakości produkty „Made in China”.
Ningbo • Baza badawczo-rozwojowa i produkcyjna Fenghua
Dzięki inwestycji o łącznej wartości 200 milionów RMB firma Kaixin Ultra-Pure Pipe Technology (Ningbo) Co., Ltd. utworzyła nowe laboratorium materiałowe we współpracy z uniwersytetami i instytutami badawczymi, zbudowała nowoczesną bazę produkcyjną i zainstalowała 8 w pełni zautomatyzowanych linii produkcyjnych do modyfikowanych tworzyw sztucznych i 8 do materiałów polimerowych. Obiekt zajmuje się badaniami i rozwojem, produkcją i zastosowaniem nowych modyfikowanych tworzyw sztucznych i materiałów polimerowych. Kaixin angażuje się także w przyciąganie najlepszych talentów z różnych dziedzin, ciągłe wprowadzanie innowacji w produktach i rozwój marki, a jego celem jest zdobycie pozycji rozpoznawalnego na całym świecie lidera w dziedzinie badań i rozwoju oraz produkcji polimerowych zaworów, rur i złączek.
Świadectwo honorowe
  • honor
  • honor
  • honor
  • honor
  • honor
  • honor
  • honor
  • honor
  • honor
Wiadomości