Zawór zwrotny PVC-C H44F-10V typu wahadłowego DN15-300 1/2"-12" Norma ANSI

Wysokiej jakości zawór zwrotny wahadłowy z szarego PVC-C DN15–DN300 PN16 6-calowy plastikowy zawór zwrotny waflowy do zastosowań chemicznych i przemysłowych Norma ANSI
Pochodzenie: Chiny
Marka: KXPV
Model: H44F-10V
Zastosowanie: Ogólne
Materiał: tworzywo sztuczne
Średnia temperatura: średnia, otoczenia
Ciśnienie: średnie ciśnienie
Zasilanie: ręczne
Medium: Kwas
Rozmiar portu: DN15–DN300
Struktura: Zawór zwrotny
Nazwa produktu: Zawór zwrotny waflowy
Kolor: szary
Opakowanie: Karton
Czas dostawy: 7 dni
Minimalna ilość zamówienia: 1 sztuka

Klasa ciśnienia: 1,0Mpa (10 barów)

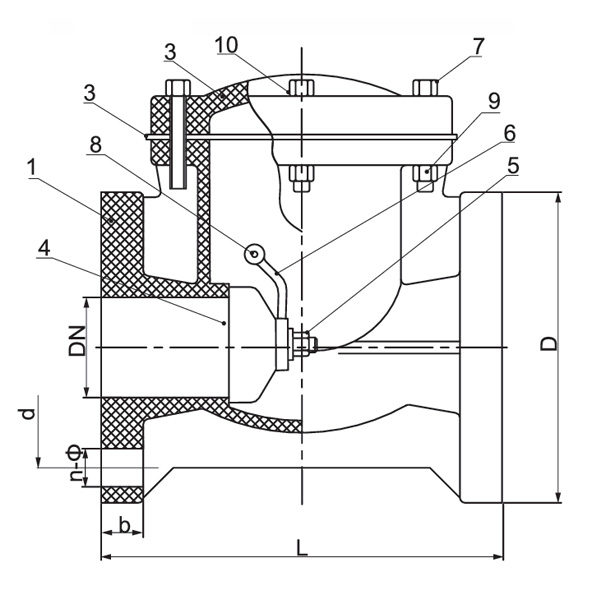
Cechy strukturalne produktu

1. Zapobiega cofaniu się cieczy, chroniąc pompy i inny sprzęt.
2. Jako zawór zwrotny wspornikowy generuje minimalny opór cieczy.
3. Wykonane w całości z tworzyw sztucznych, zapewniające doskonałą odporność na korozję w przypadku płynów kwaśnych, zasadowych i innych żrących.
4. Korpus zaworu można zdjąć z rurociągu, a pokrywę zaworu można otworzyć w celu wewnętrznej kontroli i konserwacji.

Lista ograniczeń temperaturowych aplikacji

Materiał Średnia temperatura℃ Materiał Średnia temperatura℃
PCV-C -20 ℃ ~ 95 ℃ PCV-U -5 ℃ ~ 45 ℃
FRPP -20 ℃ ~ 120 ℃ PPH -20 ℃ ~ 110 ℃
PVDF 40 ℃ ~ 150 ℃

Tabela materiałów części
Nie. Imię Materiał Ilość
PCV-C PCV-U PVDF PPH FRPP
1 Ciało PCV-C PCV-U PVDF PPH FRPP 1
2 Maska PCV-C PCV-U PVDF PPH FRPP 1
3 Guma uszczelniająca FPM EPDM FPM EPDM 1
4 Drzwi PCV-C PCV-U PVDF PPH FRPP 1
5 Śruba mocująca PCV-C PCV-U PVDF PPH FRPP 1
6 Rocker PCV-C PCV-U PVDF PPH FRPP 1
7 Śruba Stal Stal SS Stal 6-16
8 Korbowód PCV-C PCV-U PVDF PPH FRPP 1
9 Orzech Stal Stal SS Stal 6-32
10 Płyta Stal Stal SS Stal 1

Lista wymiarów

Specyfikacja d(mm) D(mm) L(mm) b(mm) n-Φ(mm)
1/2"(15) 60 115 160 18 4-Φ16
3/4"(20) 70 115 160 18 4-Φ16
1"(25) 79 115 160 18 4-Φ16
1½"(40) 98 145 170 20 4-Φ16
2"(50) 121 160 200 21 4-Φ19
2½"(65) 140 180 240 25 4-Φ19
3"(80) 152 197 265 26 8-Φ19
4"(100) 191 215 300 26 8-Φ19
5"(125) 216 250 350 30 8-Φ22
6"(150) 241 280 400 30 8-Φ22
8"(200) 299 340 500 30 8-Φ22
10"(250) 362 390 575 38 12-Φ25

Wiadomość zwrotna
[#wejście#]
O nas
Kaixin Pipeline Technologies Co., Ltd.
Założona w 1999 roku, Kaixin Pipeline Technologies Co., Ltd. to zaawansowane technologicznie przedsiębiorstwo integrujące badania i rozwój, produkcję, sprzedaż i serwis. Firma posiada wiele prestiżowych certyfikatów, w tym National High-Tech Enterprise, „Little Giant” wyspecjalizowane i wyrafinowane MŚP, krajowy mistrz pojedynczego produktu (uprawa), prowincjonalne MŚP oparte na technologii, wyspecjalizowane i wyrafinowane MŚP w Ningbo, mistrz pojedynczego produktu w Ningbo (uprawa), centrum badawczo-rozwojowe w zakresie technologii rur i zaworów polimerowych w Ningbo, zielona fabryka na poziomie okręgu, czterogwiazdkowe przedsiębiorstwo w zakresie innowacji w zarządzaniu oraz poziom dojrzałości zarządzania danymi przedsiębiorstwa 2.
Specjalizujemy się w opracowywaniu, produkcji i dostarczaniu niemetalowych, odpornych na korozję produktów do zastosowań chemicznych, w tym plastikowych zaworów, rur, złączek rurowych i odpornych na korozję pomp. Nasze portfolio produktów obejmuje materiały takie jak PVC-C, PVC-U, PVDF, PPH i FRPP, z szeroką gamą typów i specyfikacji. Warto zauważyć, że nasze przepustnice mogą osiągać średnicę DN1000, a rury i kształtki do DN800, co pozwala wypełnić luki rynkowe i utrzymać naszą przewagę konkurencyjną w branży.
Kierując się zasadą „Napędzani technologią, dotrzymując kroku czasom”, Kaixin przeznacza prawie 10 milionów RMB rocznie na badania i rozwój. Zapewniamy najwyższą jakość produktów poprzez standaryzowaną, zautomatyzowaną produkcję i rygorystyczne pozyskiwanie importowanych surowców. Zgodnie z naszą międzynarodową strategią rozwoju stale monitorujemy światowe trendy rynkowe i wykorzystujemy kanały cyfrowe, aby dostarczać klientom na całym świecie wysokiej jakości produkty „Made in China”.
Ningbo • Baza badawczo-rozwojowa i produkcyjna Fenghua
Dzięki inwestycji o łącznej wartości 200 milionów RMB firma Kaixin Ultra-Pure Pipe Technology (Ningbo) Co., Ltd. utworzyła nowe laboratorium materiałowe we współpracy z uniwersytetami i instytutami badawczymi, zbudowała nowoczesną bazę produkcyjną i zainstalowała 8 w pełni zautomatyzowanych linii produkcyjnych do modyfikowanych tworzyw sztucznych i 8 do materiałów polimerowych. Obiekt zajmuje się badaniami i rozwojem, produkcją i zastosowaniem nowych modyfikowanych tworzyw sztucznych i materiałów polimerowych. Kaixin angażuje się także w przyciąganie najlepszych talentów z różnych dziedzin, ciągłe wprowadzanie innowacji w produktach i rozwój marki, a jego celem jest zdobycie pozycji rozpoznawalnego na całym świecie lidera w dziedzinie badań i rozwoju oraz produkcji polimerowych zaworów, rur i złączek.
Świadectwo honorowe
  • honor
  • honor
  • honor
  • honor
  • honor
  • honor
  • honor
  • honor
  • honor
Wiadomości